【汽车养护及维修 】汽车原理机械动图大放送,胜读十年书!
来源:天娇官网 作者:邵阳天娇集团 日期:2017-10-08
1、离合器、变速箱工作原理
手动变速箱主要由齿轮和轴组成,通过不同的齿轮组合产生变速变矩;而自动变速箱AT是由液力变扭器、行星齿轮和液压操纵系统组成,通过液力传递和齿轮组合的方式来达到变速变矩。
2、阿克曼转向设计
阿克曼转向几何设计的车辆,沿着弯道转弯时,利用四连杆的相等曲柄使内侧轮的转向角比外侧轮大大约2~4度,使四个轮子路径的圆心大致上交会于后轴的延长线上瞬时转向中心,让车辆可以顺畅的转弯。
3、差速器工作原理
汽车差速器能够使左、右(或前、后)驱动轮实现以不同转速转动的机构。主要由左右半轴齿轮、两个行星齿轮及齿轮架组成。功用是当汽车转弯行驶或在不平路面上行驶时,使左右车轮以不同转速滚动,即保证两侧驱动车轮作纯滚动运动。差速器是为了调整左右轮的转速差而装置的。
4、齿轮齿条式转向机构
转动转向盘时,可带动小齿轮转动,这个小齿轮与一条齿条相吻合,带动齿条左右直线运动,并推动转向轮左右摆动,从而实现转向功能。齿轮不是简单的平齿轮,而是特殊的螺旋形状,这可改善转向时的柔顺感。
5、汽车发动机的活塞运动,上下的活塞运动转化成车轮转动的动力
6、曲轴运动
曲轴材料是由碳素结构钢或球墨铸铁制成的,有两个重要部位:主轴颈,连杆颈,(还有其他)。主轴颈被安装在缸体上,连杆颈与连杆大头孔连接,连杆小头孔与汽缸活塞连接,是一个典型的曲柄滑块机构。
7、发动机机油冲洗机
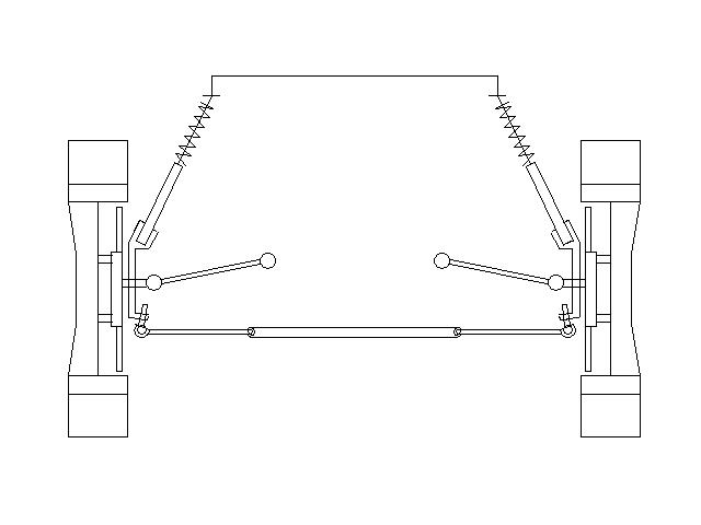
8、汽车悬挂的工作图
悬挂系统就是指由车身与轮胎间的弹簧和避震器组成整个支持系统。悬挂系统应有的功能是支持车身,改善乘坐的感觉,不同的悬挂设置会使驾驶者有不同的驾驶感受。外表看似简单的悬挂系统综合多种作用力,决定着轿车的稳定性、舒适性和安全性,是现代轿车十分关键的部件之一。
懂车,更懂您!

上一个:你的小长假余额不足,点我充值!
下一个:昌河M70——用心呵护每一份感受






































